下記の質問一覧に掲載されていない内容につきましては、お客様相談センターにご相談ください。
現在取り扱いのあるダストカバーの一覧表にて型式をご確認のうえ、販売店へご注文ください。
スライドガラスやカバーガラスに関しては、理化学機器を扱っている関連商社へお問い合わせください。
顕微鏡用のランプは顕微鏡をお求めの販売店へご注文ください。特にハロゲンランプに関しては、弊社では顕微鏡用としてフィラメントの位置を選定したランプを採用しています。
生物顕微鏡は日本国内においては薬機法下の医療機器に該当しません。
ただし、海外では国や地域によって医療機器に該当する場合がありますので、詳細はこちらへお問い合わせください。
下記ミラーユニット光学部品の寸法条件をご確認ください。
オプションミラーユニット
市販の吸収フィルター、励起フィルター、ダイクロイックミラーを使用してオプションミラーユニットを作ることができます。
■ミラーユニット光学部品の寸法条件


*ダイクロイックミラーの交換時は、指紋などを付けて汚さないように特に注意してください。
ハネノケコンデンサーU-SC3が最も広範囲の倍率に対応しています。
接眼レンズの視野数が22の場合で、対物レンズ1.25X~100Xまで使用できます。視野数26.5の超広視野の場合は対物レンズ2X~100Xまで対応します。ハネノケコンデンサーでは、対物レンズが4X以下の場合は先玉レンズをハネノケてご使用ください。
ただし、先玉レンズをハネノケるとケーラー照明にならないので、撮影時にはムラが発生する場合があります。このため4X以下の対物レンズを使用しての撮影時には、極低倍コンデンサーU-ULC-2の使用を推奨しています。
顕微鏡にセットした標本を直接肉眼で見て観察部位を探すとき、背景を白くして探しやすくするためのものです。
コンデンサートップレンズの乾燥系用トップレンズ(U-TLD)を装着したときは下段の数字、油浸系用トップレンズ(U-TLO)を装着したときは上段の数字を読んでください。
顕微鏡の接眼部で観察している範囲(実視野・Field of View)は、以下の式で求められます。
F.O.V = 接眼レンズの視野数÷対物レンズの倍率
例)接眼レンズWHN10X(視野数22)、対物レンズ40倍 使用時
22 ÷ 40 =0.55
標本上の、直径0.55ミリの範囲を観察していることになります。
接眼レンズの視野数は種類ごとに異なりますのでご注意ください。
ステージハンドル部分を反対に付け替えることは出来ません。右下・左下ハンドルステージをそれぞれ用意しています。
U-GAN(簡易偏光用アナライザー)とU-POT(透過用ポラライザー)をご準備ください。
U-GANのほかに、U-POT(透過用ポラライザー)が必要です。さらに、CX41の標準付属のコンデンサーを、簡易偏光コンデンサーCH3-CDPに取り替えていいただく必要があります。
BI:TR=100:0 と BI:TR=0:100 の2段階です。
2人用、3人用、5人用、9人用、10人用、18人用(明視野観察のみ)、26人用に対応した顕微鏡用ディスカッション装置があります(BXシリーズ)。
2人用のディスカッション装置は人数の追加はできません。
BX53(ハロゲン光源): 3人用あるいは5人用をご使用の場合は、ユニットの追加購入で10人まで拡張できます。
BX53(LED光源): 3人用あるいは5人用をご使用の場合は、ユニットの追加購入で18人(明視野仕立てであれば26人)まで拡張できます。
取付は可能ですが、制限条件としてポインターが視野周辺部まで移動しません。
WI-ARMADで40mm上げることができます。
ステージのハンドルに被せて使用してください。
付きません。
30mmです。
使用推奨ランプの50W水銀ランプ(HBO 50W-AC)ですが、品質向上のためにランプ管球部に突起部が設けられ、外観が変更となりました。この突起部が蛍光照明に使われる光の通り路に入ると、周辺光量不足や照明ムラの原因となりますので、必ず突起部によるムラが発生しないよう、図を参考にランプをランプソケット側に向けて取り付けてご使用ください。

コンデンサーを外せばフラスコを立てて観察可能です。しかし、用途としては培養細胞の増えた様子を観察する程度を想定した見えになります。
2000mm です。
観察前に以下の手順で調整を行うことで、ピントずれを小さくすることができます(ズーム同焦調整)。
(1)ズーム最低倍率の状態で、焦準ハンドル(粗微動ハンドル)でピントを合わせる
(2)次にズーム最高倍率にして、同様に焦準ハンドル(粗微動ハンドル)でピントを合わせる
(3)ズーム最低倍率に戻し、ピントが合っていなければ接眼レンズの視度調整環で調整する
上記は、あらかじめ接眼レンズの視度調整が出来ていることが前提となります。疲れにくく、正しい観察のためにも、観察の前には接眼部分の調整をおこなうことをお勧めします。
視度調整およびズーム同焦調整方法につきましてはこちらのページでもご紹介していますので、ご確認ください。
SZ61TR(SZ61三眼本体)の撮影用マウント部(三眼部)は0.5XCマウントとなっています。0.5倍の撮影レンズが内蔵されているため、この倍率を変えることは出来ません。
現行品ではSZX16の蛍光仕様にU励起対応のフィルターユニットのご用意があります。他の実体顕微鏡にも蛍光観察ができるものがありますが、U励起には対応していません。
約500時間です。
約20,000時間です。
アルミダイキャスト製のため、磁石はつきません。
ありません。補助対物レンズなどで観察倍率を下げる事は可能です。
SZ-FLR用は92Wのみです。80Wのものは形状が似ていますが、が測定顕微鏡用の蛍光灯照明装置MMFL-ST5用のランプです。
約1,061mm です。
使用できません。

TIFF形式の場合、cellSens上でスケールバーを表示させていても、他のビューアソフトで見るとスケールは表示されません。 cellSensにてTIFF形式の画像を読み出し(または撮影後)、メニューの「画像」-「情報の書き込み」を選択し、画像保存時に「名前を付けて保存」にてTIFF形式で別名保存してください。
※自動保存を実行されている方は、画像を一度cellSensに表示させてから、「情報の書き込み」を選択し、あらためて「名前を付けて保存」を選択してください。
総合倍率について、こちらのページで解説しているので目安としてください。
DPシリーズ(顕微鏡用デジタルカメラ)の対応ソフトウエア・対応OSについては、こちらをご確認ください(PDFファイル146KB)。
(DP70、DP71、DP72、DP73、DP74、DP75、DP80、DP20、DP21、DP22、DP23、DP25、DP26、DP27、DP28、DP23M、DP30BW)
弊社のデジタルカメラのマウント方式に合わせて、お持ちの顕微鏡用のテレビカメラアタッチメント類を顕微鏡メーカー様からご購入いただければお取り付けは可能です。
ただし、弊社の顕微鏡用デジタルカメラは、弊社の顕微鏡に合わせたチューニング・性能確認を行っているため、色再現をはじめとした各種機能・性能・品質等の保証はしていません。
通常、プレパラート標本はスライドガラスとカバーガラスからなっています。 生物顕微鏡用の対物レンズはこのような標本を見るため、カバーガラスを用いることによる屈折率を計算した設計となっていますが、なかにはカバーガラスが使われていない標本もあります(血液塗抹標本など)。 そのような標本を観察する際には、カバーガラスを用いない(ノーカバー)標本観察用の対物レンズを使用して下さい。
BHとBXは光学系が異なるため、対物レンズの互換性はありません。
位相差用対物レンズは明視野の観察も可能です。 コンデンサーを位相差リングスリットが光路に入っていない状態(「O」の位置)にしていただくか、明視野用コンデンサーをお使いいただければ明視野の観察状態になります。
接眼レンズにミクロメーターを装着する要領で「FN-Changer20」をレンズにセットすることにより、視野数22の接眼レンズの視野数を20にすることが出来ます(ミクロメーター後入れ不可の接眼レンズでは使うことが出来ません)。
両眼の視野を合わせる必要があるため、「FN-Changer20」は左右の接眼レンズにセットしてください。
目に当てるゴム部分はアイシェードといいます。アイシェードは接眼レンズの型式ごとに異なります。
接眼レンズ側面に記載されている型式(WHN10X-Hなど)をご確認のうえ、こちらへお問い合わせください。
ございます。接眼ミクロメーターは接眼レンズの種類によって厚さや大きさが異なります。こちらのページを参考に、接眼レンズに合ったものをお選びください。また、掲載以外の接眼レンズに関してもご用意がある場合がありますので、接眼レンズ型式ご確認のうえこちらへお問い合わせください。
接眼レンズとカメラの光路は別のため、撮影画像には写りません。
油浸対物レンズをイマージョンオイル無しで使用するのと同じで、空気中での観察は不可となります。
フィルターが正しく使われていない可能性があります。こちらから詳細をご確認ください。
光源がハロゲンランプの場合は、ランプの電圧を低くすると観察像全体が黄色っぽくなります(ハロゲンランプの特性です)。
観察時は昼光色にするために指定された電圧に設定し(例えば12V100Wハロゲンランプの場合は9V)、かつLBDフィルターを使って下さい。明るすぎる場合はランプ電圧を変えずにNDフィルターで調整してください。なお、LED光源を採用している機種の場合は電圧を変えても色温度が変わらないのでNDフィルターも不要で、好みの明るさに手軽に調整できます。
こちらから詳細をご確認ください。
いくつか原因が考えられます。
<透過/落射共通>

<透過照明の時>
(例)BX53ハロゲン照明
| フィルタにつまみを奥までしっかり押込み、フィルタを確実に光路に入れてください。フィルタが確実に入っていないと適切な観察を行えない場合があります。 |
<落射照明の時>

原因はいくつか考えられますが、
【調整方法】
|
|
眼幅調整と視度調整がうまく行っていない可能性があります。こちらをご覧ください。
こちらをご覧ください。
こちらをご覧ください。
こちらのページでレンズの清掃方法についてご紹介しています。
無水アルコールでの拭き取りを推奨しています。こちらのページで、顕微鏡の清掃方法について記載していますでご参照ください。
次のページでランプの交換方法についてご案内しています。
BX41、BX43をお使いの場合はこちら。
BX51、BX53をお使いの場合はこちら。
生物顕微鏡BX51の水銀ランプ交換方法の動画(Flash動画)をご参照ください。
生物顕微鏡BX51の水銀ランプ心出し方法の動画(Flash動画)をご参照ください。
下記をご参照ください。

水銀ランプやキセノンランプは、ハロゲンランプと構造も点灯原理も全く違います。そのため寿命(USH-103OL: 300時間、USH102D、UXL-75XB: 200時間)になったら直ちに交換してください。寿命を過ぎて使い続けると、ランプが破裂したり、その破裂した破片がランプハウス内部の光学素子を傷つけたりする可能性があります。
使用済みの水銀ランプは産業廃棄物です。お住まいの自治体のルールに従って廃棄してください。
(BX、IXシリーズの手動タイプは共通の機構です)
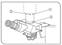
ステージが自重落下していると考えられます。粗動ハンドル回転重さ調整リング(顕微鏡を正面から見て、右側の焦準部操作ハンドルの最も内側にあるリング)を時計回りに回転させ回転重さを重くしてみてください。
下記の図もご参考ください((5)が重さ調整リングです)。

粗動ストッパー(ステージストッパー)を使用していませんか。顕微鏡を正面に見て左側の焦準部操作ハンドルの内側にあるレバーを解除してみて下さい。
下記の図もご参考ください((4)が粗動ストッパです)。

あるいは、対物レンズの先端が指紋やイマージョンオイルの拭き残り等で汚れている可能性があります。無水アルコールを使用して清掃をしてください。
上記をご確認いただいても改善されない場合は、こちらにご相談ください。
回答:顕微鏡とデジタルカメラを接続するアダプターに、観察像とモニター像のピント調整(同焦調整)をする機能があります。方法は、アダプターの種類によって異なります。
※最初に下記1)~4)の操作を行ってください。
1)まず、顕微鏡の視度調整を行ってください。方法はこちらをご参照ください。
2)対物レンズを低倍率(ex. 10X)対物にして、接眼レンズを覗いて、粗動ハンドルを回して標本にピントを合わせます。
3)顕微鏡の対物レンズを高倍率(ex. 40X)対物に切り替え、接眼レンズを覗いて、微動ハンドルを回して標本にピントを合わせます。
4)対物レンズを低倍率(ex.
10X)対物に戻し、再度接眼レンズを覗いてピントが合っていることを確認したら、モニター像を見ながら下記の操作をします。
※以下、焦準ハンドルは操作しません。
A:U-TV0.25XC、U-TV1XC、U-TV1X-2、U-TV0.63XB
アダプターの固定ネジ(1)と、鏡筒の固定ネジ(2)をゆるめ、モニター像を見ながらアダプター上部(3)(マウント部分)を持って、アダプター下部(4)を回転させ、ピントが合った位置で固定ネジを締め付けます。

B:U-TV0.35XC-2、U-TV0.5XC-3、U-TV0.63XC
アダプター側面にある同焦調整固定ねじ(LOCK)(1)を六角ドライバでゆるめ、モニター像を確認しながら同焦調整ねじ(FOCUS)(2)を六角ドライバで静かに回します。ピントが合った位置で、固定ネジ(1)を締め付けます。

原因としては、次の可能性が考えられます。
(1)光路切換え部分で撮影光路に光がいっていない:鏡筒の右側面にある「光路切り替えつまみ」をご確認ください。
(2)デジタルカメラの露出がマニュアル(特に、短い露出時間で固定されている)になっている:オートに設定し、モニターに映るかお試しください。
主検者の方の鏡筒が三眼鏡筒になっている場合、光路切り換えで双眼部と三眼部に同時に光を送る設定になっていれば、分光した分、主検者側は暗くなります。この場合にはすべての光を双眼部へ送るように光路を切り換えていただければ、副検者と同じ明るさになります。
これは、cellSensで情報の書き込みをしないTIFF形式で保存したためと考えられます。cellSens以外の画像ビューアソフトで、スケール表示された状態の画像を見られるようにする場合、下記の手順に従ってTIFF以外の形式での保存をしてください。
1.cellSensにてスケールバーを表示させて下さい
2.その後、フォーマットはTIFF形式以外(JPEG,BMPなど)を選択し、別名で保存してください。スケールが書き込まれた状態の画像として保存されます。
cellSensで撮影した画像は情報の書き込みをしないTIFF形式の画像を元画像として保存しておくと、あとからスケールの表示/非表示を変更した形式の画像を作成することができます。
お使いの画像閲覧ソフトが高ビットの画像に対応していない可能性があります。10,12ビットに対応した画像閲覧ソフトをお使いになるか、cellSensの設定を「取り込み設定」-「カメラ」-「全般」にある画像形式を「8ビットRGBカラー」に変更して撮影をして下さい。
なお既に撮影した画像ファイルは、画像を開き「メニューバー」-「画像」-「モード」-「8ビット/チャンネル」に切り替え画像を保存すると表示されます。
このページはお住まいの地域ではご覧いただくことはできません。